【導讀】蘋果公司不斷地推出新產品,最近網絡頻傳Apple的新專利信息,本文就跟隨小編探秘近期值得關注的蘋果專利,握握手就能實現交換數據、Apple Pay未來或支持P2P轉賬交易、背部Logo成傳感器,用于生物識別、室內室外定位的無縫切換等等。
握握手就能實現交換數據
考慮到智能手表的屏幕面積非常有限,設備間若想要交換數據,還真不是一件操作起來很方便的事情。對此蘋果有一些自己的想法,在其新申請的一項專利中,就提到了一種基于運動感應器的新技術。簡單來說,使用該技術的可穿戴設備(對蘋果來說就是 Apple Watch)在配戴者一起做出握手、鞠躬或擊拳等動作時,就會自動通過無線方式交換相關數據。用戶甚至都無需用手指觸摸屏幕,而這顯然能減少操作上的不便。
當然,你也可以用不同的動作、與對方的親密程度,來確定傳輸數據的范圍,比如說,初次見面的兩人握手,交換的就可能只是聯絡信息而已。當然,目前我們還無法確定蘋果最終是否真的會將這樣的功能加入到自己產品當中。
此外,專利文件還顯示,蘋果將在未來為Apple Watch配備一個攝像頭。該攝像頭將具備自動對焦功能,可掃描二維碼或條形碼。


Apple Pay未來或支持P2P轉賬交易
蘋果最新專利顯示,公司未來或考慮為Apple Pay增加“點對點”(P2P)的轉賬功能,即兩個蘋果設備用戶可以直接通過Apple Pay服務完成支付與轉賬,整個操作將會是加密和免費的。美國專利商標局于周四正式批準了蘋果該項專利。
“具體來說,一個正在使用電子設備(如手機、平板或筆記本電腦等)的用戶,將能夠在金融交易操作中識別另一個(支持同技術的)電子設備,并通過提供加密支付數據包的方式完成整個交易。”蘋果在專利描述中表示。
此外,蘋果還在專利中具體提到,用作兩個設備之間通訊的協議可以是NFC或者藍牙。同時,進行交易的雙方都必須在設備上完成生物信息驗證后才能轉賬。
[page]
背部Logo或成傳感器 用于指紋識別等讀取
蘋果今天又申請了一項和 iPhone 有關的專利,該專利顯示蘋果正在研究一個能夠將傳感器整合到移動設備開孔的電路系統。根據不同的使用場景進行配置,這些電路系統可以用于用戶指紋,心跳和其它數據的讀取。專利文件描述顯示該電路外殼結構可分布于多個開孔,而每個開孔的一部分又可以用于識別設備。
該專利提到了皮膚傳導傳感器,心率監 聽器和指紋傳感器,這似乎都是蘋果可能為未來 iPhone 背部 logo 配備的傳感器方案候選。


有國外媒體報道稱,利用該專利將會大量節約機身正面空間,使得其屏占比將會變得更大。按照蘋果的傳統來看,其申請的專利將會是其下一步的發展方面。如果蘋果真在未來的iPhone中運用此項技術,顯而易見的便是其正面屏占比將會大幅度提高,而其經典的HOME按鍵將會被取消。另外。由于手持手機的習慣,方便程度將會得到答復的提升,其背部的LGGO也將會得到利用。
特殊金屬材料不擋信號 解決iPhone 6“白帶”
iPhone 6、iPhone 6 Plus除了攝像頭凸出,最讓人無法忍受的莫過于背部的兩條“白帶”,而它們都是為了保證無線信號而做出的無奈妥協,因為即便難看點也比iPhone 4上的“天線門”好得多。
當然了,蘋果肯定也不愿意就這樣,正在積極尋找讓無線信號順利通過金屬材料的方法。

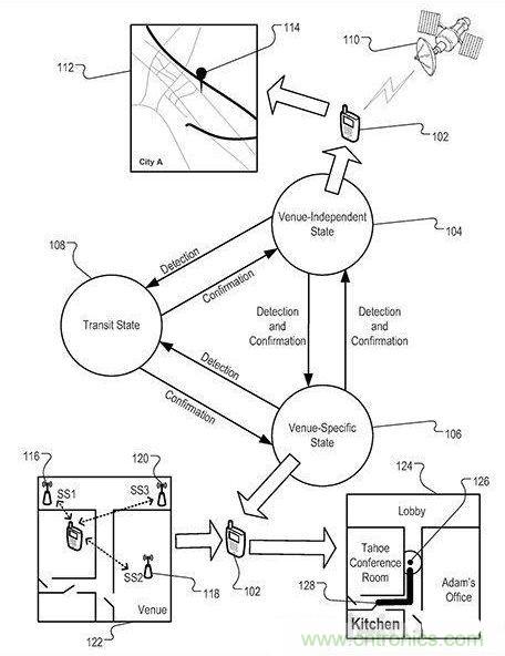
室內室外定位的無縫切換
美國專利商標局(USPTO)6月授予了蘋果公司一項便攜式設備使用定位、通信和其他傳感器收集信息,自動從一種定位子系統切換至另一種定位子系統的專利。
這項專利專利號為9066207,名為“定位切換管理”,通過GPS和室內無線網關來讓iPhone可以無縫的為汽車導航、室外導航和室內導航。在實際使用中,用戶設備會使用第一傳感器子系統。比如,iPhone可以通過GPS衛星信號收集戶外位置信息。這一點與目前大部分地圖服務提供的導航和即時位置信息并沒有太大的區別。
而當用戶進入到建筑物內而設備無法獲取到GPS信號時,設備會自動檢測室內的無線訪問熱點,這些熱點的RF信號可以出差位置數據。此外,當iPhone檢測到氣壓的變化時,也可以自動改變導航模式。來自設備陀螺儀、濕度計、麥克風、加速度傳感器和光線傳感器的信息也可以用來確定iPhone的位置。

更重要的是,定位子系統調用的第二子系統可以提供更準確的定位。雖然在專利中沒有提及,蘋果iBeacons微定位技術也可以被集成在系統中。基于藍牙的iBeacons可以替代專利中的無線熱點,提供更準確的位置數據,比如走廊、房間、墻壁、辦公室和其它位置。

2013年,蘋果收購了室內導航公司WiFiSLAM,只是至今公司還沒有推出消費者可以使用的室內導航技術。而今天這份專利的通過,預示著蘋果已經開始準備提供超出街道范圍更大的地圖服務。
這項專利蘋果在2012年12月提出申請,專利發明人為Lukas M.Marti、Robert Mayor及Shannon Ma。
新型觸控面板技術與3D“懸浮”手勢功能
根據美國專利及商標局最新公開的兩項蘋果新專利文件顯示,蘋果正在開發新型觸控面板技術,在開發更輕薄更集成的觸控面板的同時,還將使用多種傳感器實現3D“懸浮”手勢功能。 能夠在不進行觸摸的情況下,識別感應懸浮在設備前方的手勢。標志著蘋果繼Force Touch觸控之后又一次觸控技術的革新。
據AppleInsider報道,蘋果遞交的新專利文件顯示,通過多種傳感器和補償手段來實現3D“懸浮”手勢支持,擴展人機交互手段。蘋果專利文件指出,雖然市面上已經有設備通過運動感應來獲得類似效果,但實現高可靠性和準確率的懸浮手勢識別仍極為困難。蘋果遞交的發明專利方案集中在對感應器的補償修正。通過使用設備上多個分布的多種臨近感應器共同工作,彼此修正捕獲的動作,剔除過于敏感的錯誤識別,提高懸浮手勢識別的準確率。
同時,另一項專利標題為“On-Cell Touch Architecture”(On-Cell集成式面板觸控架構),通過在觸控屏中On-Cell集成邊緣電場感應,來實現對顯示屏之上的手指進行識別。專利顯示該技術能夠讓“接近屏幕表面的物體無需接觸表面即可被識別”。
雖然目前并不確定該項技術將會出現在那款蘋果產品上,但是值得注意的是,該技術如果真的出現,將會對目前的智能設備進行革命性顛覆,因為該技術將會直接改變目前的通話,移動閱讀以及手機游戲的體驗。

液態金屬工藝新專利:快速冷卻不結晶降低成本
日前,蘋果公司獲得了USPTO批準的一項新專利,這項專利通過液態金屬技術可以在手機的制造過程中分層使用大容量非晶合金凝固的方法,而這一方法之前曾廣泛用于大塊非晶合金的玻璃形成。

蘋果的這項技術可以減緩合金的冷卻和凝固速度,在室溫的狀態下保持非晶狀態。該項專利指出,如果冷卻的速度并不足夠快,那么就會形成晶體,從而增大金屬塑形的難度。
該項專利屬于蘋果和蘋果子公司液態金屬子公司,專利三位發明人分別為Christopher D.Prest、Joseph C.Poole和Theodore Andrew Waniuk。目前蘋果已經獲得了該項專利,但是并不清楚是否會應用于除SIM卡托以外的部件生產。如果該技術可以用于內部組件生產,那么蘋果將會大規模發展該項專利來降低生產成本。
用同一個耳機聽不同的歌曲
日前,美國專利和商標局通過了蘋果申請的耳機線專利,當多個用戶分享該耳機時就會自動進行檢測,為每個用戶分配單聲道音軌或完全不同的歌曲。
這個專利名為“由具有定向傳感器的耳機線制成的耳機”,美國專利號為No. 9,049,508,耳機線中含有多個傳感器,用來檢測一位或多位用戶,并決定其輸出音頻的種類(單人、多人)。例如,當檢測到的用戶只有一人時,輸出音頻就可以采用立體聲模式;當檢測到的用戶為多人時,則將單獨的單聲道信息輸出給每個用戶。

一些揭露出來的可行的傳感器安排包括機械開關、應變傳感器、電容傳感器、通過光纖傳輸的光傳感器等。根據耳機設計的不同,傳感器模塊被設置在沿耳機線的特定點,譬如左右耳機線的Y型聯結點。
在一些應用實例中,以Y型聯結點為例,通過角度的測量來判定耳機是否同時被多個用戶使用。專利中表示,當兩個用戶共享耳機時,耳機線的夾角會發生變化,相比于耳機被一個人使用,左右兩側耳塞之間的距離也會更大。

另一種技術涉及電容式傳感器,實際應用中看Y型聯結點處相重疊部分的面積。當左右耳機線被分開部分的重疊面積減小,電容量就隨之減小,這個變化是可以進行長時間監測的。
在一個實例中使用光纖測角儀,利用已知的光傳輸的特性該設備可以測量出精確的角度。從激光器、LED或其他光源發出的光線是偏振光線,通過光纖布線和多個偏振片,最后由放置在耳塞中的探測器收集信號。
當光在光纖中傳輸時,只有當某個偏振片相對其他偏振片發生旋轉的時候,偏振光才會發生變化,相應的光探測器捕獲的光強也會發生變化。最終得到的數據進行處理、轉化為特定電纜位置。
蘋果的專利還概述了包括壓電式傳感器在內的其他傳感器技術,利用方程為單用戶和多用戶分配合適的閾值。
今天獲得的專利不太可能馬上應用到EarPods中,但是這樣的設計思路也許在處理電源數據線問題的時候能派上用場。蘋果在減少客戶對線的依賴問題上表現出越來越濃厚的興趣,這點可以從蘋果手表設置的感應充電以及適用于新款12英寸MacBook的單USB C型電纜中看出,這也許會引發兼容問題。
蘋果的這項專利最早由Paul G. Puskarich在2012年提出。
相關閱讀:
揭秘:什么事蘋果秘密進行4年,英特爾還什么都不知道?
蘋果的普及“步伐”能否加快?NFC能做什么呢?
逆天設計:蘋果新Touch ID讓Android好無語





