【導讀】在各種電源應用領域,例如工業電機驅動器、AC/DC 和 DC/DC 逆變器/轉換器、電池充電器、儲能系統等,人們不遺余力地追求更高效率、更小尺寸和更優性能。性能要求越來越嚴苛,已經超出了硅 (Si) 基 MOSFET 的能力,因而基于碳化硅 (SiC) 的新型晶體管架構應運而生。
在各種電源應用領域,例如工業電機驅動器、AC/DC 和 DC/DC 逆變器/轉換器、電池充電器、儲能系統等,人們不遺余力地追求更高效率、更小尺寸和更優性能。性能要求越來越嚴苛,已經超出了硅 (Si) 基 MOSFET 的能力,因而基于碳化硅 (SiC) 的新型晶體管架構應運而生。
雖然新式器件在所有關鍵性能指標方面都有明顯的優勢,但由于各種局限性和應用的不確定性,設計人員對第一代 SiC 器件持謹慎態度是明智的。第二代器件規格方面經過優化,也更多地考慮到了器件的細節。一方面 SiC MOSFET 性能不斷提升,另一方面上市時間的壓力加劇,設計人員開始使用這些新式器件來達成產品目標。最近出現的第三代器件表明,基于 SiC 的電源裝置已經成熟。這些器件在所有關鍵參數方面都做了改進,同時借鑒了前幾代器件的設計導入經驗和相關專業知識。
本文首先對 Si 與 SiC 進行比較,然后討論第三代 SiC MOSFET 的發展歷程。本文將介紹 Toshiba Semiconductor and Storage Corp.(下稱 Toshiba)的真實示例,說明這些器件如何幫助設計人員在電源系統設計方面取得重大進展。
硅與碳化硅的比較
在過去的幾十年中,硅基 MOSFET 改變了從基本電源和逆變器到電機驅動的電源系統的設計。Si MOSFET 經過開關優化,搭配絕緣柵雙極型晶體管(IGBT,一種功能相似但結構和屬性大不相同的半導體),能夠使電源轉換和管理從基于線性拓撲結構的傳統低能效方法過渡到使用開關控制的更節能且更緊湊的方法。
這些設計大多使用某種形式的脈沖寬度調制 (PWM),在閉環反饋配置中提供并保持所需的電壓、電流或功率值。隨著硅基 MOSFET 的使用越來越廣泛,對它的要求也越來越嚴苛。此外,新的能效目標(許多是監管要求)、電動汽車和更智能電機控制的市場需求、可再生能源的電源轉換及相關的儲能系統,都要求 MOSFET 以更好的性能起到更多作用。
最終,研究人員開展了大量研發工作來改善硅基 MOSFET 的性能,但他們意識到,研發工作逐漸達到了收益遞減的地步。幸運的是,研究人員有一個理論上的替代方案,即 MOSFET 所基于的功率開關器件改用 SiC 作為基底,而不是純硅。
為何使用 SiC?
由于各種深層物理學原因,SiC 有三大電氣特性與純硅明顯不同,每個特性均賦予其工作優勢。此外,SiC 還有其他一些更微妙的差異(圖 1)。

圖 1:SiC 與 Si 和氮化鎵 (GaN) 固體材料的關鍵材料特性的大致比較。(圖片來源:Researchgate)
這三大特性是:
· 更高的臨界擊穿電場電壓(約 2.8 MV/cm,Si 為 0.3 MV/cm),因而在給定電壓額定值下工作時,可以使用更薄的層,大大降低漏源導通電阻 (RDS(on))。
· 更高的導熱率,因而在橫截面上可以實現更高的電流密度。
· 更寬的帶隙(半導體和絕緣體中價帶頂部與導帶底部之間的能量差,單位為 eV),使得高溫下的漏電流更低。出于這個原因,SiC 二極管和場效應晶體管 (FET) 常被稱為寬帶隙 (WBG) 器件。
因此,基于 SiC 的器件可阻斷的電壓最多比純硅結構高出 10 倍,開關速度是純硅器件的大約 10 倍,25°C 時相同芯片面積的 RDS(on) 只有純硅器件的一半或更低(當然所有數值都是近似值)。此外,SiC 器件沒有有害的尾電流,因此關斷相關的損耗也較小。同時,工作溫度最高可達約 200℃(硅器件為 125℃),因而熱設計和熱管理問題得以簡化。
憑借良好的性能屬性和長足的進步,SiC 器件現在已在功率與速度的應用矩陣中占據了突出的位置,加入了 IGBT、硅基 MOSFET 和 GaN 器件的行列(圖 2)。

圖 2:SiC MOSFET 的性能屬性使其適用于非常廣泛的應用,涵蓋各種功率和頻率額定值。(圖片來源:Toshiba)
從基礎 SiC 材料科學和器件物理學到商用 SiC MOSFET,這條路很漫長且艱難(圖 3)。經過大量研究和生產努力,第一款基于 SiC 的器件(肖特基二極管)于 2001 年推出。在那之后的 20 年里,業界陸續開發并發布了第一代、第二代和第三代量產 SiC MOSFET。每一代產品都在特定參數方面做了針對性的改進,同時也有一些不同的權衡。

圖 3:商用 SiC 器件始于 2001 年出現的第一款商用 SiC 肖特基二極管。(圖片來源:IEEE Transactions on Industrial Electronics,2017)
請注意,明確術語很重要:同之前的純硅器件一樣,基于 SiC 的 FET 也是 MOSFET。從廣義上講,其內部物理結構相似,二者均為三端子器件,具有源極、漏極和柵極連接。區別正如名稱所示:基于 SiC 的 FET 使用 SiC 而非純硅作為基材。
最初的第一代和第二代器件
許多參數可用來描述開關器件的性能。其中有許多靜態參數,包括最大工作電壓和最大額定電流,以及兩個靜態品質因數 (FoM):RDS(on) 和最高工作溫度,它們與特定芯片尺寸和封裝的功率容量有關。
作為開關器件,動態參數也很關鍵,因為需要通過動態參數來評估開關損耗。最受關注的動態 FoM 是 RDS(on) 和柵極電荷的乘積 RDS(on) × Qg,而另一個參數反向恢復電荷 Qrr 也越來越重要。柵極驅動器用于將電流正確地拉出和灌入器件,而且在此過程中不能發生過沖、瞬時振蕩或其他失真,其尺寸和能力主要由這些 FoM 決定。
第一代 SiC 器件的使用和市場增長因為可靠性問題而受阻。其中一個問題涉及 PN 二極管,此二極管位于功率 MOSFET 的電源和漏極之間。對 PN 二極管施加電壓使其通電,導致導通電阻改變,使器件的可靠性下降。
Toshiba 的第二代產品修改了 SiC 器件的基本結構,將肖特基勢壘二極管 (SBD) 嵌入 MOSFET 中,在很大程度上解決了這個問題(圖 4)。這使可靠性提高了一個數量級以上。在新結構中,SBD 與單元內部的 PN 二極管平行放置,從而防止 PN 二極管通電。電流流經嵌入式 SBD,因為其導通狀態電壓低于 PN 二極管,從而抑制了導通電阻的一些變化和 MOSFET 可靠性的降低。

圖 4:與沒有內部肖特基勢壘二極管 (SBD) 的典型 SiC MOSFET(左)不同,具有 SBD 的器件(右)可以最大限度地減少寄生 PN 二極管的通電。(圖片來源:Toshiba)
具有嵌入式 SBD 的 MOSFET 已被投入實際使用,但僅用于高壓產品,例如 3.3 kV 電源裝置,因為嵌入式 SBD 會導致導通電阻最終上升到只有高壓產品才能承受的水平。Toshiba 調整了各種器件參數,發現 MOSFET 中 SBD 面積比是抑制導通電阻增加的關鍵。通過優化 SBD 面積比,Toshiba 設計了一種 1.2 kV 級 SiC MOSFET,其可靠性得到了明顯改善。
然而,同許多增強產品一樣,有利也有弊。雖然新的器件結構大大提高了可靠性,但它也對兩個 FoM 產生了不利影響。標稱 RDS(on) 和 RDS(on) × Qg 得以增加,導致 MOSFET 的性能下降。為了彌補和降低導通電阻,第二代 SiC MOSFET 增加了芯片面積,但這也增加了成本。
第三代器件真正成熟
認識到這一問題之后,Toshiba 開發了第三代 SiC MOSFET 器件,稱為 TWXXXN65C/TWXXXN120C 系列。該系列器件優化了電流擴展層的結構以減小單元尺寸,同時提供更高的額定電壓、更快的開關速度和更低的導通電阻。
通過降低擴展電阻 (Rspread),部分降低了導通電阻。通過向 SiC MOSFET 的寬 P 型擴散區(P 阱)的底部注入氮氣,SBD 電流得以增加。Toshiba 還減小了 JFET 區域并注入氮氣,以降低反饋電容和 JFET 電阻。由此,在不增加導通電阻的情況下,反饋電容得以降低。另外,通過對 SBD 的位置進行優化,器件實現了導通電阻無波動的穩定運行。
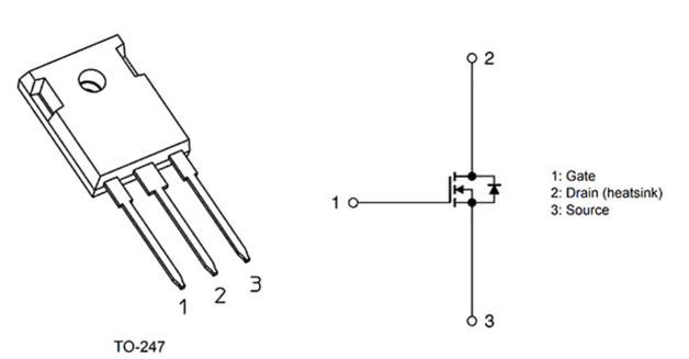
目前,該系列包括 650 V 和 1200 V SiC MOSFET,設計用于大功率工業應用,如 400 V 和 800 V AC/DC 電源、光伏 (PV) 逆變器和用于不間斷電源 (UPS) 的雙向 DC/DC 轉換器。650 V 和 1200 V SiC MOSFET 均采用行業標準的三引線 TO-247 封裝(圖 5)。

圖 5:Toshiba 的 650 V 和 1200 V 第三代 SiC MOSFET 采用標準 T0-247 封裝,適用于廣泛的電源轉換、控制和管理應用。(圖片來源:Toshiba)
與 Toshiba 的第二代器件相比,這些第三代 SiC MOSFET 的 RDS(on) × Qg FoM 降低了 80%(降幅非常顯著),同時開關損耗降低了約 20%。內置的肖特基勢壘二極管技術還提供了超低正向電壓 (VF)。
此外,還有其他與 MOSFET 相關的設計導入巧妙之處。以 VGSS 為例,VGSS 是在漏極和源極短路時可施加于柵極和源極之間的最大電壓。對于第三代 SiC 器件,VGSS 的范圍是 10 至 25 V,推薦值為 18 V。VGSS 額定值的范圍廣泛有助于簡化設計,同時提高設計的可靠性。
此外,低電阻和更高柵極閾值電壓(VGS(th),即 MOSFET 通道開始導電的電壓)有助于防止故障,如因尖峰、毛刺和過沖而導致的意外導通。該電壓的范圍為 3.0 至 5.0 V,有助于確保可預測的開關性能且漂移極小,同時支持簡化柵極驅動器設計。
深入了解 650 V 和 1200 V 第三代 SiC MOSFET
該系列的兩端分別是 650 V 和 1200 V 器件,由此可以看出其能力之全面。所有器件的物理封裝、引腳布局和原理圖符號都相同(圖 6),但具體細節不同。

圖 6:Toshiba 第三代 SiC MOSFET 系列的所有器件具有相同的物理布置和原理圖符號;注意符號中肖特基勢壘二極管是整體器件的一部分。(圖片來源:Toshiba)
其中一款 650 V 器件是 TW015N65C,這是一款 N 溝道器件,額定電流為 100 A,額定功率為 342 W。其典型規格值如下:輸入電容 (CISS) 為 4850 pF,柵極輸入電荷 (Qg) 低至 128 nC,標稱 RDS(on) 只有 15 mΩ。
除了顯示靜態和動態參數的最小值、典型值和最大值的表格外,規格書中還有顯示關鍵參數的性能與溫度、漏極電流、柵源電壓 (VGS) 等因數關系的曲線圖。例如,RDS(on) 值與溫度、漏極電流 (ID)、柵源電壓 VGS 的關系如圖 7 所示。

圖 7:曲線圖從不同角度展示了 TWO15N65C 的導通電阻特性,包括漏極電流、環境溫度和 VGS。(圖片來源:Toshiba)
圖 8 顯示了 1200 V 器件(例如 20 A、107 W N 溝道器件 TW140N120C)的同一組規格和曲線圖。此 SiC MOSFET 具有如下特性:CISS 低至 6000 pF,柵極輸入電荷 (Qg) 為 158 nC,RDS(on) 為 140 mΩ。

圖 8:TW140N120C 的導通電阻特性曲線圖。(圖片來源:Toshiba)
Toshiba 第三代 SiC MOSFET 提供 10 款器件,包括 5 款 650 V 器件和 5 款 1200 V 器件。在 25℃ 時,它們的導通電阻、電流和功率額定值如下所示:
650 V:
15 mΩ,100 A,342 W (TWO15N65C)
27 mΩ,58 A,156 W
48 mΩ,40 A,132 W
83 mΩ,30 A,111 W
107 mΩ,20 A,70 W
1200 V:
15 mΩ,100 A,431 W
30 mΩ,60 A,249 W
45 mΩ,40 A,182 W
60 mΩ,36 A,170 W
140 mΩ,20 A,107 W (TW140N120C)
總結
相比于純硅器件,碳化硅 MOSFET 在關鍵的開關參數方面有很大改進。與前幾代器件相比,第三代 SiC 器件優化了規格和 FoM,提高了可靠性,更好地滿足了柵極驅動器的要求,并且對不可避免的設計導入上的微妙問題提供了更深入的見解。這些 SiC MOSFET 讓電源系統設計人員擁有了額外的核心資源,使他們可以實現更高的能效、更小的尺寸和更好的整體性能。
(來源:Digi-Key,作者:Bill Schweber)
免責聲明:本文為轉載文章,轉載此文目的在于傳遞更多信息,版權歸原作者所有。本文所用視頻、圖片、文字如涉及作品版權問題,請聯系小編進行處理。
推薦閱讀:
AMP 創新型電動汽車充電解決方案采用 Wolfspeed E-系列碳化硅器件






