【導讀】上周有個新聞“科學家開發薄片式電池 讓汽車充電一次開1000公里”,報道了采用雙極性電極的電池將可以實現1000公里的續駛里程,1000這個數字的確太吸引眼球了。我們來看一下這個新聞背后的EMBATT項目,看一下實現1000公里的技術概念是什么樣子的。

如今,電池儼然成為了決定電動車未來的核心部件,這也不難理解那么多的電池制造商在電池技術上絞盡腦汁、期望有所重大突破,并且制定各種野心勃勃發展目標,例如:將電池系統的能量密度從250Wh/L左右提升到500Wh/L、同時大幅度降低生產成本。一方面,電池材料需要進一步優化,提高電池能量密度,另一方面,電池空間體利用需要提高、減小有限空間內的非活性材料。現有的電池封裝package方式造成了大量的體積被非電池活性材料占據,無法充分利用有限的電池空間。為了實現這個目標, IAV公司與 Thyssenkrupp AG和Fraunhofer Institute for Ceramic Technologies and Systems(IKTS)一起合作開發汽車底盤電池集成項目( EMBATT:chassis-embedded energy),直接將電池嵌入到汽車底盤,大幅度減少電池本身的結構件所占據的體積,達到提高能量密度Wh/L的目標。EMBATT概念的中心思想是采用雙極性bipolar鋰離子電池。在這個合作開發項目中,IAV主要負責車輛開發,包括車輛概念、測量安全、電池布局和設計、控制軟件標定。IKTS主要負責定制化電池材料和電極的制造加工技術。Thyssenkrupp AG主要負責后期的電池生產。
基于EMBATT概念的雙極性電池主要實現以下目標:
·大幅度降低系統復雜性,電池系統能量密度提高到500Wh/L
·降低內阻,減少冷卻的需求
·使用更少的零部件,制造成本可以降低
·符合車輛安全要求
·采用先進電池材料,進一步提高能量密度
現在的鋰離子電池將電極進行卷繞或疊片后放入殼體內(圓柱形、方形、或軟包),然后再跟其他結構件、電子器件、管理單元集成到電池系統那個內。從單體電池到電池系統,由于大量非活性物質(結構件,電子元器件、線束等)的存在,能量密度損失高達40-60%左右(甚至更高),目前電池系統能量密度大致在120-300Wh/L(這里不是Wh/kg)。
EMBATT項目的電池開發目標旨在打破傳統的電芯和模塊的界限,將雙極性電極制備的電池集成到底盤,并根據封裝的尺寸不同,可以實現850-1200V的大型電池電壓配置(大約2平方米左右的電池),從而使得1000公里的續駛里程成為可能。這個開發項目的挑戰之一是如何生產雙極性電極,因為這要求在電極的兩側涂敷上正極和負極兩種不同的材料,最小電池單元的厚度大約在300微米,這是一個比較復雜的制備過程。電池的機械穩定性通過內外部的支撐結構實現。除了這些電池結構的特殊設計之外,另一個重點是要采用高效率的電池材料。EMBATT項目在負極材料上目前選擇了鈦酸鋰LTO,正極選擇了鎳錳酸鋰LNMO,單體電池的電壓在3.2V左右(選擇其他材料也可以,但是電壓會低一點),下一步重要的材料是選擇合適的電解液,從傳統的液態電解液到固態電解質都在考查范圍內,長遠看,全固態電解質會成為最終選擇,隔膜可選方案之一是陶瓷隔膜,這有助于將固態電解質的方案和隔膜集成在一起。EMBATT項目中的雙極性電極是在集流體的兩側分別涂敷LTO作負極、LNMO作正極(其他正極材料也可以)。先用激光切割對雙極性電極進行第一次預沖切,然后在進行二次沖切得到最終電極尺寸。然后采用疊片方式將雙極性電極片堆疊起來,形成電池單元之間的串聯。根據項目的研究進度,基于EMBATT概念的1000公里電動車預計在2025年發布。

根據IKTS的介紹,EMBATT項目的概念來源于固體氧化物燃料電池SOFC的電堆結構設計,在項目中,IKTS主要承擔:電池單元的設計概念研究;開發/優化電池活性材料、以及陶瓷隔膜和電解液;電池單元的制造工藝開發。

目前,IKTS和合作機構已經完成了EMBATT1.0和EMBATT2.0的開發項目。1.0和2.0相比,最主要的變化在于正極材料從1.0項目中的NCM或LFP升級到LNMO,采用了進行金屬元素摻雜的尖晶石錳酸鋰,提高了上限電壓。隔膜、液態電解質升級到了全固態電解質,這將更加有利于電池單元的生產。1.0和2.0的能量密度分別為200Wh/L和450Wh/L,這和當前動力電池單體的能量密度相比并沒有優勢,可能將來在電池系統上具備一定優勢,但是目前由于還沒有實現將雙極性電極制備的電池嵌入到底盤上,所以電池系統級別的能量密度優勢究竟有多大還不清楚。因此在EMBATT 3.0上,負極作了很大變更,采用了金屬鋰作負極,并且采用了玻璃陶瓷全固態電解質,集流體也不再局限于鋁(目前還不清楚具體集流體的材質),通過這些優化來實現800Wh/L的能量密度目標。

在制造工藝方面,1.0和2.0的制造工藝與現行的鋰離子電池制造工藝沒有明顯區別,在3.0上,由于采用全固態玻璃陶瓷電解液,因此電極和電解質的裝配可以在同一步驟完成,省卻了后面的注液環節,但是后續增加了熱處理環節,主要是為了讓電極和固態電解質界面更好的接觸。這3.0項目上,全固態電解質的開發、電解質與電極界面兼容性問題是重點研究內容,這與一般的固態電池的研究課題是一致的。

總的來說,EMBATT的最大特點并非它的材料創新,因為這些材料的研究和創新一直都是鋰離子電池領域的研究熱點,EMBATT有意思的地方是將雙極性電極制備的電池直接集成到汽車底盤的概念,以及由此概念引申出來的在制造加工方面的工藝改進。有趣的是,在今年的上海車展上,汽車零部件供應商-本特勒提出了自主設計研發的新能源汽車底盤系統,該底盤系統的目標之一也是要實現底盤集成或模塊化整合,電池也是被考慮集成到底盤的零部件之一。另外,在今年的第九屆全球汽車產業峰會上,類似的電動化底盤平臺同樣被多次強調。由此可見,這種平臺化底盤會成為電動汽車發展的趨勢。
聯想到我們國家2016年發布的電動車技術路線中,純電動汽車電池系統的能量密度目標是500Wh/L(2025年)、700Wh/L(2030年),或許,采用底盤嵌入式電池技術很可能是實現這一目標的途徑之一。
聊一下EMBATT里面的提到的雙極性電極bipolar electrode。雙極性電極的概念由來已久,在鋰離子電池上的應用也很久了,單是一直沒有被大規模應用。

下圖對比了傳統鋰離子電池(a圖)和雙極性鋰電池(b圖,這里是以金屬鋰和全固態為例)。a圖中,每個電池單元unit cell包括了正極(一般涂覆在Al基材)、負極(一般涂覆在Cu基材);b圖中,每個電池單元unit cell同樣包括了正極、負極,但是正極、負極活性材料共用一個基材:當兩個電池單元串聯起來時,雙極性電極的一側在當前單元電池作為負極,另一側在相鄰單元電池中是作為正極。

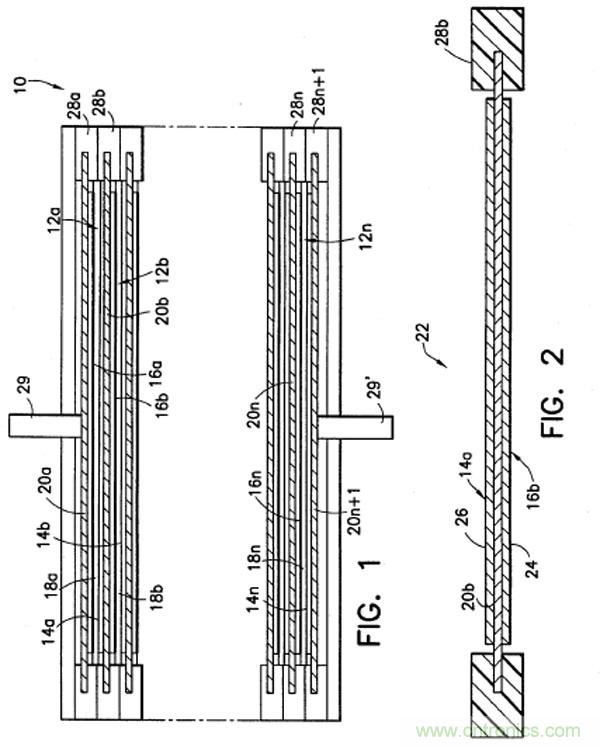
雙極性電極的研究早在二、三十年以前就已經出現。例如在20實際九十年代,美國雅迪尼(Yardney)技術公司就對雙極鋰離子電池展開了研究。雙極性電池設計可以將單元電池cell-stack中相鄰cell之間的電阻最小化,使得每個雙極性cell種的正負極活性涂層表面上的電流和電勢達到更加均勻的分布,因此,采用雙極性cell構成的電池具有更高的功率特性。下圖Fig1是一個典型的由多個雙極性電池單元構成的雙極性鋰離子電池截面圖,Fig2是提取出來的其中一個雙極性電池單元。其中,12a、12b,…,12n是電池單元;14a、14b,…,14n是電池單元的正極側;16a、16b,…,16n是電池單元的負極側;18a、18b,…,18n隔膜;20b、20c,…,20n是集流體(例如,Fig2中的14a和16b共用一個集流體),集流體可采用雙金屬基材,例如,Cu-Al雙金屬,負極活性物質涂敷在Cu側,正極活性物質涂敷在Al側;24是負極活性物質,26是正極活性物質;28a、28b,…,28n是絕緣性連接固定結構,每個雙極性電極通過該連接結構固定起來。在Fig1和Fig2中,一共有n-1個雙極性電極(集流體兩側分別有正極、負極活性物質),最上層20a只有負極一側,另一側跟負極極柱29相連,最下層20n+1只有正極一側,另一側跟正極極柱29相連。

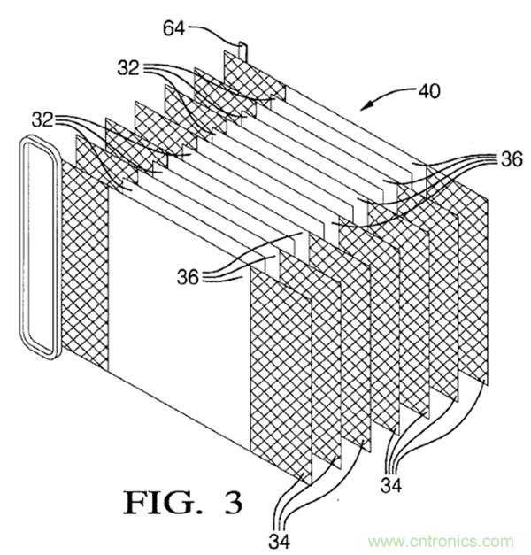
下圖Fig3是雙極性電極的堆疊stack,可以稱之為電堆40。其中,32是隔膜;34是集流體;36是雙極性電極,兩側分別是正負極活性物質。基本結構與上面的示例是一樣的。

下圖是含有三個雙極性電極的CR2032鈕扣電池。正極是LFP,負極是金屬鋰,采用準固態聚合物電解質和不銹鋼集流體。從電壓曲線可以看到,只要改變雙極性電極的unit數量,就能改變電池的電壓,這里給的分別是1unit、2units、3units的電壓曲線。例如,很容易通過5個雙極性的unit實現一個12V的鋰離子電池,下圖右側是日本東芝公司的一個12V雙極性電池的部分截面圖,從表1的參數中可以看到,這里正極材料是LiMn0.85Fe0.1Mg0.05PO4,負極材料是LTO,集流體是Al,固態電解質電解質是Li7La3Zr2O12(LLZ)和PAN。從封裝方式來看,疊片式軟包裝是比較適合雙極性電池的一種方式。

從上面的結構和數據來看,采用雙極性電極結構,很容易就可以實現電池的高壓,這比通過將多個電池串聯起來實現高電壓的方法要更加高效:減少了電池的無效配裝空間、降低了連接電阻。相比較如今在開發高電壓正極材料上的緩慢進展,雙極性電極不失為一種可能的更加快捷的方式來實現電池高電壓輸出。當然,正如在前面(一)所說的那樣,真正的實際應用還需要解決很多生產制造上的問題。



