- 探究車載應用中的電流檢測技術
- 電路必須配置為衰減器
- 采用高共模電壓差動放大器要增加電阻網絡
要求電流檢測的車載應用
車載應用中的電流檢測包括控制通過螺線管和噴射器的電流。例如,在柴油噴射時,我們用 48V 或更高的電壓迅速地將感應噴射器的電流提高到 20 安培。一旦達到 20A,電流檢測電路就會向控制電路提供反饋信號,以保持噴射器電流為 20A 不變。
電流檢測技術通??稍鰪娭匾男阅芑蛱匦?。電動車窗系統是展示電流檢測技術優勢的一個很好的例子。由于馬達扭矩與電流成正比,因此馬達在扭矩過大的情況下就會停止工作,比方說人的胳膊卡在電動車窗上,或者機械系統發生故障時,馬達都會停止工作。
電流檢測的方法
負載或電源的低壓側或高壓側都可進行電流檢測。共模電壓是指分路 (shunt) 上的電壓(不是分路上的差分電壓),在低壓側檢測為零伏。低壓側檢測最簡單,可采用最基本的放大器電路。低壓側檢測的難點在于:低壓側檢測會影響系統的接地端,可能還需要增加更多的線路,而且這種作法通常不利于故障診斷。
圖 1 中的高壓側分路放大器可檢測很高的電源電壓上極低的差分電壓(通常為 100mV 或更低),通常在車載應用中為 13.8V。不過,如果為無限制的 (unconditioned) 電池線路,那么會受瞬變影響:如果無意中將電池方向放錯就會出現 –13.5V 的情況,如果出現負載突降或感應反沖,那么最大瞬變可達 72V。不妨設想,放大器通常采用 5~12V 的單電源供電(5V 的電源供電日益常見),這就需要放大器的輸入引腳連接到共模電位,大大超過了放大器電源軌的限制。

圖 1 在高壓側電流檢測中,共模電壓是主要問題
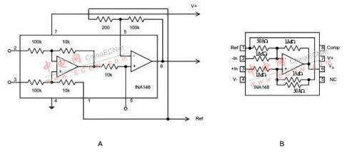
老式分路檢測電路基于差動放大器,即周圍帶四個電阻來設置增益并提供差動輸入的運算放大器 (operation amplifier)。這些電阻使運算放大器能接受超過其電源軌的共模電壓。不過,這也會帶來下面一些負面問題:一是電路必須配置為衰減器,在隨后的運算放大器級中恢復增益,如圖 2A 中的 IC 結構圖所示,運算放大器的增益會成倍增大第一個放大器的偏置和漂移量,從而降低整體性能。二是采用高共模電壓差動放大器要增加電阻網絡,以使之在仍然只提供單位增益的同時能夠接受較高的共模電壓。高共模差動放大器帶來的影響在于:運算放大器的噪聲增益與共模衰減成正比,如圖 2B 所示的差動放大器結構采用了 20:1 的內部共模衰減,此舉使放大器的偏置、漂移和噪聲都比運算放大器本身擴大了 20 倍。此外,較大的輸入電阻也會造成較高的噪聲。

圖 2 可用于車載電流檢測的電阻型高共模電壓差動放大器
電流分路.是專門用于分路電流檢測的高共模電壓差動放大器,能夠解決電阻型差動放大器的局限性。電流分路.與差動放大器相比的主要區別在于:其共模電壓功能通常只擴展到正電壓,而一些電流分路.允許共模接地。這會造成更多的衍生情況,我們隨后還要談到。共模電壓功能也允許擴展到負電壓。電流分路.從一開始設計時就是以單電源電壓工作的,通常最低電壓可達 2.7V。圖 3 顯示了兩類電流分路.,分為電流輸出型分路.和電壓輸出型分路.。電流輸出型分路.通常靜態電流較低,需要外部輸出電阻,從而使終端用戶能夠設定增益。電壓輸出器件采用固定增益且不需要其他組件。

圖 3 兩大類電流分路.包括:A) 電流輸出型分路.和B) 電壓輸出型分路.
車載應用的一般性技術要求
車載電流檢測分為兩大類型:一類是直接連接到電池,另一類是通過限制瞬態偏移的保護電路連接。
上述情況會影響電流分路.上共模電壓額定值的要求。車載的 12V 電子系統最高電壓為 14.4V,但電池總線器件上的瞬態電壓最高可達 75V,甚至會發生電池換極。
我們還要考慮到另一種共模情況:電源線路的分路開啟,且接地短路的情況。這時共模電壓為零。電流流動時必須進行檢測,也就是說,放大器在零共模電壓時也要能正常工作。
最后,我們不妨考慮一下如圖 4 所示的脈沖寬度調制 (PWM) 螺線管驅動器的情況。在本例中,螺線管頂部開啟時達到電池電壓。開關關閉時,電壓將回到二極管電壓降大小的負電平上。這就要求電流分路.在低至 –2V 的共模電壓下仍能工作。

圖 4 PWM 應用中應進行電流檢測,即便在共模電壓降至二極管電壓降大小的負電壓的回掃期間也要進行檢測。
電流比較
在許多應用中,電流應與某個設定值相比較。通常說來,進行電流比較還需要電流分路.、比較器和參考電壓。此外,理想的比較器輸出應與大多數常見的邏輯電路很好地兼容。圖 5 給出了電流比較的例子。在本例中,將電流與采用 TI INA200 系列電流分路.和比較器的簡單單電壓結點進行了比較。R1 和 R2 形成分壓器,以根據 INA200 系列比較器的內置 0.6V 電壓結點來設置電壓結點。(INA200 系列的增益很有特點:INA200 的增益為 20,INA201 的增益為 50,INA202的增益為 100。)

圖 5 簡單的單電壓結點電流比較
某些系統需要不止一個電流限制電平。舉例來說,系統以較低的電流限制作為故障即將發生的指示器,而以較高限制作為關閉系統的標志。INA206-INA208 系列電流分路.采用兩個比較器來實現上述功能。某些系統會對較低限制采用延遲輸出,以避免超出最低限制后引起不必要地觸發瞬態偏移。圖 6 中的電路將 INA206 電流分路.部分的輸出反饋給兩個比較器,這會生成一個有效的低輸出警報,并為關閉 MOSFET 緩沖路徑提供適當極性。
圖 6 顯示了電流與兩個電壓結點比較的電路。較低的電壓結點激活警報輸出,我們可為其配置一個適當的延遲電路,以避免錯誤的瞬態觸發。較低的電壓結點在比較器輸入端內置閾值為 0.6V。Q1 為較高電壓結點輸出提供緩沖,通過電源開關 MOSFET 關閉電源,如果電流超過上限則啟用 Q2。較高電壓結點采用 INA206 的 1.2V 參考電壓,INA206 具有避免在沒有鎖存功能的電壓結點發生振蕩的鎖存功能。




